
热力学是材料科学与工程领域不可或缺的组成部分之一。成功的材料与加工工艺设计都需要可靠的热力学数据。以往,材料的热力学性能主要通过实验手段获得,例如 差热分析,化学分析,X射线衍射和能谱分析。但是随着科学技术的不断进步,材料中的组元数越来越多,实验测定热力学数据也越来越困难,并且难以在有限的时间里获得足够的数据。基于CALPHAD方法的热力学计算正是解决这一难题的最好办法。它可以从低组分材料体系的热力学数据来计算多组分体系的热力学性能以节约时间和成本,或者通过实验容易准确测定的实验数据来推测极端条件下(高温、高压和放射性等)或者实验难以准确测定的热力学数据。
CALPHAD方法基于热力学理论,根据各个组成相(包括气相,液相,固溶体和化合物)的晶体结构建立热力学模型,通过评估筛选一定温度压力下的多元材料体系的实验及理论计算(包括第一性原理计算、统计学方法和经验、半经验公式)数据,拟合优化模型参数,确定体系中每一个相吉布斯(Gibbs)自由能,并最终建立多元多组分材料体系热力学数据库。 图1为CALPHAD方法流程示意图。CALPHAD方法是目前唯一可以计算多元体系热力学性质并能满足实际应用精度要求的热力学计算方法。它还是材料动力学、微观结构演变模拟的热力学基础。因此,CALPHAD方法广泛地应用于新材料研制和新工艺的设计之中。

图1为CALPHAD方法流程示意图 [1]
本文将介绍CALPHAD方法在传统合金合金设计,高熵合金的开发, 3D打印,锂离子电池领域的应用
1. 传统合金合金开发
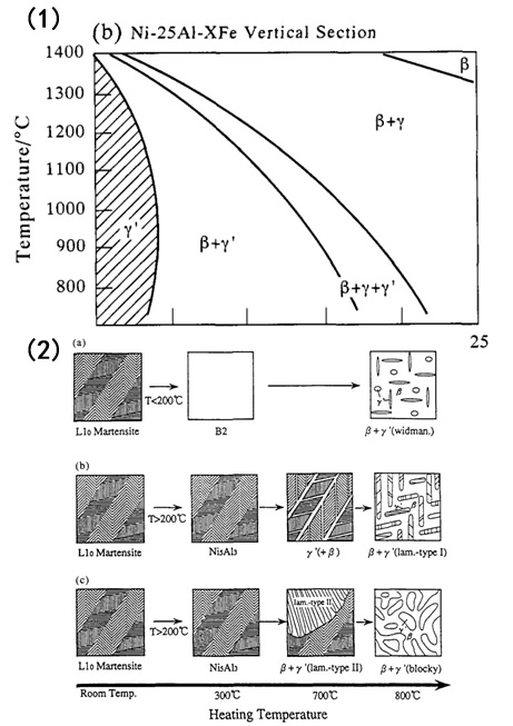
金属间化合物NiAl在高温合金领域极具应用前景,但是较差的延展性极大地限制了其应用。Kainuma等人[2]利用CALPHAD方法和实验确定的Ni-Al-Fe体系的相图(图2a),确定了NiAl、Ni 固溶体和Ni3Al相的组分区间。通过优化合金组分热处理工艺和合金组分(图2b),获得了三种由NiAl和Ni3Al相组成但微观结构截然不同的NiAl基合金材料。该材料的延展性与NiAl相比得到了大幅度提高,达到了10%,并且强度高达750-1000 MPa.

图2 1) Ni-25Al-xFe垂直截面,2) 三种不同NiAl和Ni3Al二元结构的微观结构演变, 从上到下组分为Ni-25Al-(18,15,13)Fe
2. 高熵合金的开发
高熵合金(High entropy alloy, HEA)代表了一种全新的合金设计理念。HEA中通常含有5个或者5个以上的元素。这些元素有一样的或者近似的原子分数。与传统合金不同,HEA通常形成具有简单的体心立方(bcc)或面心立方相(fcc). 与传统合金相比,HEA拥有很多优异特性,通过合理的配方设计,可以获得高强度、高硬度、高加工硬化、耐高温软化、耐高温氧化、耐腐蚀和高电阻率等特性组合,因此受到了广泛关注并具有很大的应用前景。

图3 利用TCHEA1数据库计算得到的Co-Cr-Fe-Mn-Ni 体系中10626个组分相组成
Bracq等人[3]利用TCHEA1高熵合金数据库,研究了fcc相在Co-Cr-Fe-Mn-Ni 体系中的稳定性。通过对10626个组分的计算,确定了单一fcc相的稳定区间 (图3),并实验验证了该计算结果的准确性。计算进一步表明Cr和Mn含量的升高会降低fcc相的稳定相而Ni和Co能够提高fcc相的稳定性。该成果使得通过优化Co-Cr-Fe-Mn-Ni 基HEA化学组成来优化合金性能成为可能。
3. 增材制造(3D打印)
今年来,由于其过程的灵活性、可控性、能够制备传统制造方式无法制备的复杂结构件等特点而受到广泛关注。多元相图被认为3D打印制备金属部件的“地图”。在3D打印制备梯度金属材料中,Hofmann等人[4]利用热力学计算获得的相图,确定了最优的组分梯度路径,以避免脆性相的生成。运用这一理念,成功制备了304L/Inconel626、304L/Invar36、Ti-6-4/Nb、Ti-6-4/V/420不锈钢、Ti-6-4/TiC等一系列梯度材料。

图4 1)三元相图中两种合金之间可能的组分梯度路径,2) 3D打印制备的Ti-6-4/Nb梯度材料
4. 锂离子电池
在锂离子电池领域中,合金阳极材料具有高电荷密度和低化学电位,因此其被认为有望取代碳质阳极材料,并且电池的安全性也会得到提高。Sn基合金是最重要的合金阳极备选材料之一,由于其高的理论电荷密度(Li22Sn5, 994 mAh/g)和低化学电位。Li等人[5]利用CALPHAD方法建立了Li-Sn体系的热力学数据库,利用该数据库计算得到了Li-Sn体系中不同化合物的开路电压,如图5。

图5 计算得到的Li–Sn 合金相对于纯锂的开路电压
铜的氧化物被认为有望在下一代锂离子电池中作为电极材料。Lepple等人[6]利用CALPHAD方法建立了Li-Cu-O体系的热力学数据库. 利用该数据库计算得到了当CuO或者Cu2O作为阴极材料时,锂离子电池电压与锂含量的关系。计算表明
(1)当CuO作为阴极材料时,随着Li含量的增加,电池电压会出现三个平台区间,并随着锂的含量的增加而减小。前两个平台区间的电池电压会随着温度的升高而第三个平台区间的电压会随着温度的增加而减小。
(2)当Cu2O作为阴极材料时,仅有两个平台区间。第一个平台区间的电池电压会随着温度的升高而第二个平台区间的电压会随着温度的增加而减小。

图6计算得到的(a) CuO和(b) Cu2O作为阴极材料时,锂离子电池电压与锂含量的关系
CALPHAD方法在材料科学与工程中的应用还有很多,具体可以参考书籍CALPHAD (Calculation of Phase Diagrams):A Comprehensive Guide [7]。
参考文献
[1] H.J. Seifert, F. Aldinger, Applied phase studies. Z. Metallkd. 87 (1996) 841-853.
[2] R. Kainuma, S. Imano, H. Ohtani, K. Ishida, Intermetallics 4 (1996) 37-45.
[3] G. Bracq, M. Laurent-Brocq, L. Perriere, R. Pires, J. Joubert, I. Guillot, Acta Materialia 128 (2017) 327-336.
[4] D.C. Hofmann, J. Kolodziejska, S. Roberts, R. Otis, R.P. Dillon, J.-O. Suh, Z.-K. Liu, J.-P. Borgonia, Journal of Materials Research 29 (2014) 1899-1910.
[5] D. Li, S. Fürtauer, H. Flandorfer, D.M. Cupid, Calphad 47 (2014) 181-195.
[6] M. Lepple, R. Adam, D.M. Cupid, P. Franke, T. Bergfeldt, D. Wadewitz, D. Rafaja, H.J. Seifert, J. Mater. Sci. 48 (2013) 5818-5826.
[7] N.J. Saunders, A.P. Miodownik, CALPHAD (Calculation of Phase Diagrams):A Comprehensive Guide, Pergamon Press, Oxford ,1998.
本文由材料人专栏HTH官网地址 顾问彭博士供稿。
材料人重磅推出材料计算解决方案,组建了一支来自全国知名高校老师及企业工程师的HTH官网地址 顾问团队,专注于为大家解决各类计算模拟需求。如果您有需求,欢迎扫以下二维码提交您的需求,或直接联系微信客服(微信号:cailiaoren001)






