流式细胞术是一种对快速直线流动状态中的单列细胞或生物颗粒进行逐个、多参数、快速的定性、定量分析或分选的技术,具有检测速度快、测量参数多、采集数据量大、分析全面、分选纯度高、方法灵活等特点,已经成为近代科学研究中的热门专题,研究它的论文数量也在逐年上升(见图1)。流式细胞仪(flow cytometer,FCM)是以流式细胞术为核心技术,集光学、电子学、流体力学、细胞化学、生物学、免疫学以及激光和计算机等多门学科和技术于一体的先进科学技术设备。它被广泛应用于临床医学、细胞学、生物学、微生物学、制药学、生殖学等领域,是现代科学研究中的先进仪器之一,被誉为实验室的”CT”。
图1 在PubMed 中用关键词” 流式细胞术” 搜索的文献数
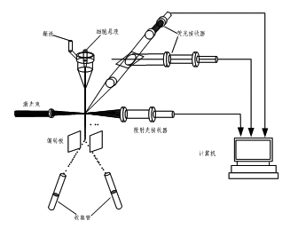
1 流式细胞仪的工作原理
图2为流式细胞仪基本结构。它主要有四部分组成:流动室和液流系统;光源与光学系统、信号收集与信号转换系统、计算机与分析系统。具有分选功能的流式细胞仪还包括分选系统。将待测细胞荧光染色后制成单细胞悬液,在鞘液的包被下单行排列,依次通过流动室检测区域。以激光作为激发光源,垂直照射检测区域的样品流,被荧光染色的细胞在其照射下,产生散射光和激发荧光,它们同时被前向光电二极管和侧向90°方向的光电倍增管接收。前向小角度的光散射信号(forward scatter,FSC)反映了细胞体积的大小;侧向90°方向的光散射信号(side scatter,SSC)反映了细胞内颗粒的复杂情况。激发荧光信号代表了所标记的被测细胞内部颗粒的信息。这些光信号转化成电信号,被传送到计算机,经A/D 转换器传输到微机处理器形成数据文件,保存到计算机上,以备脱机后的数据处理和分析。细胞的分选是将待测液滴充以正负不同的电荷,让其在高压电场的作用下偏转,落入不同的收集容器中,从而实现细胞的分离。
图2 流式细胞仪结构示意图
2 流式细胞仪的应用
2.1 在临床上的应用
细胞癌变过程中伴随细胞DNA 含量的改变,DNA 非整倍体细胞是恶性肿瘤的特异性标志。流式细胞仪的FSC 能够给出这些信息,在肿瘤的早期诊断和鉴别诊断中有着很重要的作用;早在80 年代人们发现特定T 细胞亚群可以反映AIDS 患者的临床状态,而流式细胞仪可以对这些T 细胞亚群进行检测,为AIDS 的诊断、治疗提供有用信息;流式细胞仪借助于各种荧光染料测定一个细胞的多种参数完成白血病及淋巴瘤的诊断,准确率达90%左右,较传统形态学检查准确性提高10%-20%;流式细胞仪对淋巴细胞及其亚群数量的检测,可以探索疾病的发病机理、病程、预后,指导临床治疗方案。
2.2 在生物学及微生物学上的应用
从早期到现在,在细胞及细胞器方面很多已被人们所接受的HTH官网地址 ,都经流式细胞仪研究过。在细胞功能的早期研究中,研究者仅能通过观测微生物的吞噬来研究噬中性粒子,而流式细胞仪可以通过它们的大小、形状、抗体及吞噬过程中微生物种类、数量的变化更深入的辨别、研究这些噬中性粒子;氧自由基的实时、单细胞繁殖评价,DNA 倍体分析,细胞循环中细胞增殖和凋亡分析等都会用到流式细胞仪;流式细胞仪对细胞周期可以轻松分析,促进了以此为基础的植物学的发展,辅以成像仪器,流式细胞仪可以对微生物的成长、繁殖进行3-D 研究。
2.3 在生殖学及制药学上的应用
利用对精子DNA 进行无害标定的DNA 染料(如Hoechst 33342)或H-Y 抗体都可以对精子进行检测和分类,完成生殖学
上的要求;FCM 检测肿瘤细胞的耐药相关蛋白的表达水平,对检测临床肿瘤化疗效果及药物的选择有一定的意义。此外,流式细胞仪在细胞毒,可溶性蛋白质分子,钙离子浓度检测等都有很广泛的用途。此外,流式细胞仪在细胞毒,可溶性蛋白质分子,钙离子浓度检测等都有很广泛的用途。
3 流式细胞仪的最新进展
1)仪器功能专业化
Partec CyFlow、BD FACSCount 可以实现CD4,CD8,CD3 绝对计数,用于HIV 检测的经济普及型流式细胞仪。CytoBuoy 公司生产多种用于水体微型生物分析的流式细胞仪,如CytoBuoy 可安放在浮标上;CytoSub 可在水下200 米使用,具有特殊的耐压装置,以及内部鞘液循环处理装置,不需外部加入鞘液;CytoSense GV 装有特殊的压力模块,可除去蓝细菌的空胞。Bentley Instruments 公司、Delta Instruments公司和FOSS Electric 公司专门设计提供奶牛场使用的专项检测仪,BioDETECT 公司的Yeastcyte 则是专用于酵母计数与活性分析。Union Biometrica 公司的COPAS 能够分选果蝇、蚊子、斑马鱼等的卵和幼虫。
2)仪器全面自动化
免疫标本制备仪、组织样本制备仪和样品前处理仪在实验中得到广泛应用。不同规格的多孔板或多试管自动进样器加速了自动化进程。Epics XL、FACSCalibur 等主流厂家仪器都实现了自动化。
3)多色多参数分析迅速发展,分析、分类速度加快
新兴荧光探针的不断开发和仪器软、硬件的逐步更新,流式细胞仪的多色荧光分析得到了迅速发展,对细胞亚群的识别更准确、更精细。一种激光(如488nm 激光)同时激发多种荧光材料,目前已出现488nm 单激光激发5 色到7 色的仪器,如BD FACSAria和LSRII, Beckman Coulter FC500 和CyAn ADP 等;多种激光激发多种荧光染料,如Partec CyFlow ML 采用5 种激光激发13 色荧光实现16 个参数的分析。随着细胞分选系统的发展,流式细胞仪的分析、分选速度明显加快,如BD FACSAria获取速度达70000 个细胞/s,分选速度50000 个细胞/s,四路分选;Beckman Coulter MoFlo XDP 分析速度100000 个细胞/s,分选速度70000 个细胞/s,四通道分选。
4)仪器小型化
适应实际需要的小型化、便携式流式细胞仪也是一个发展的趋势。最近几年,微流体流式细胞仪成为研究的热门方向,在这方面的研究也越来越多,取得了一定的科研成果。耿鑫等对微流体数字化喷点技术进行了研究,使之能够用于小型实验室。廖锡昌等研制了荧光微芯片分析检测器,基本实现了它的微型化。Shao Guocheng 等研发了带有非共面显微透镜和3-D 流体聚焦单元的微流控芯片,实现了流体聚焦单元的真正三维化。David Barat 等研究集成光学系统代替传统的自由空间光学系统,提出四种不同的方法,找出最佳设计方案。Segyeong Joo 等发明规格15cm×10cm×10cm、重量为800g 的微流体流式细胞仪,它能同时给出荧光信息和阻抗信息,使细胞分类更快、更容易。Md. Z. Islam 等发明用来分离干细胞的光纤耦合微流体流式细胞仪。Joel P. Golden 等发明多波长微型流式细胞仪,它可以具有532nm、635nm 波长激发,665nm、700nm 荧光探测和散射光探测的功能。
参考文献:
[1] 赵书涛, 武晓东. 流式细胞仪的原理、应用及最新进展[J]. 现代生物医学进展, 2011, 1(22): 1-3
材料人编辑部Allen编辑整理。
材料人提供各类材料分析测试服务。如有需求,欢迎点击链接:http://cailiaoren.mikecrm.com/OCPpuAC
或扫码提交需求






